隨著電子科技的發展,電源模塊因其小體積、高效率、寬輸入電壓范圍、高可靠性、良好的抗沖擊能力、寬溫度范圍等優點,廣泛應用在工業電氣、自動化電子、通信、醫療、交通、新能源、儀器儀表、汽車電子、航空航天、軍工科研等領域設備。因為體積較小,通常需要外加電路設計,是一款板載電源。下面淺談下提高電源模塊應用電路設計穩定性的幾個要點。
1、兩級浪涌保護電路。電源模塊很小,在高電磁兼容性要求的場合,需要增加額外的浪涌保護電路來提高系統的電磁兼容性。


如上圖所示:為了提高輸入級的浪涌保護能力,在外圍增加了壓敏電阻和TVS管。然而,圖中的電路a、 b最初是為了實現兩級保護,但可能會適得其反。如果a中MOV2的壓敏電壓和通流能力低于MOV1,在強干擾情況下,MOV2可能無法承受浪涌沖擊而提前損壞,導致整個系統癱瘓。同樣,在電路b中,由于TVS的響應速度比MOV快,往往MOV未起作用,而TVS過早損壞。
添加電感器以形成兩級保護電路。如電路c、 d所示,電感串聯,將保護器件分隔為兩級。對于高頻浪涌脈沖,電感阻抗較大,因此前端的變阻器首先起作用,而后端的壓敏和TVS可以進一步吸收剩余電壓保護模塊。此外,即使是單級保護,增加電感也能起到一定的作用,從而避免浪涌電壓直接加到模塊輸入端。
2、輸出濾波電容過大,導致模塊異常。通常建議在電源模塊的輸出端增加一定的濾波電容。然而,由于認識不足等原因,使用了過大的輸出濾波電容,不僅增加了成本,而且降低了系統的穩定性。例如3W模塊的輸出使用1000uF的電容,并且從產品手冊中得知該模塊的最大輸出電容為680uF。過大的輸出電容可能導致啟動不良,而對于沒有短路保護的微功率DC-DC模塊,過大的輸出電容甚至可能導致模塊的永久性損壞。


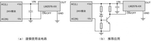
3、連接開關電源芯片,注意啟動不良。如上圖所示:電源模塊的輸出電壓逐漸建立。電路A的LM2576未設計欠壓鎖定,當VIN電壓較低時開始啟動,如果輸出負載過重,可能被24V模塊誤判為短路或容性負載過大,導致啟動不良。
因此,建議使用電路b,外部簡單欠壓鎖定,24V模塊的輸出電壓達到預設值后,再啟動外接開關電源芯片,如LM2576,這樣可以很大程度上避免啟動不良的問題。或者使用功率余量大的電源模塊,開/關引腳也可以連接到MCU進行控制。
4、雙路模塊,注意負載平衡。對于雙路輸出模塊,雙路輸出對負載的要求是不同的。通常,這種模塊只向一路提供穩壓反饋,另一路通過變壓器耦合達到所需的電壓,當主路負載過重而輔路過輕時,輔路的電壓會升高。當輔路有嚴格的電壓要求時,有必要增加一個三端穩壓器。當非穩定輔路負載過重且主路較輕時,輸出電壓可能不穩定或輔路電壓過低,需要給主路添加假負載。
5、并聯和冗余不是一回事。當你有兩個相同的模塊,并且單個模塊的功率不足時,很自然地會考慮并聯使用來滿足功率需求。然而,采用普通電源模塊并聯提高功率的方法存在很大的隱患,輸出電壓高的模塊需要提供過大的電流而導致模塊過功率。例如負載需要5W的功率,這超過了單個模塊的負載能力,因此,其中一個模塊可能過載。對于這種應用,應使用功率大于5W的單個模塊。而下圖電路b不是,并且每個模塊的功率可以滿足負載的需要,這是冗余設計。


6、雖然鉭電容很好,但應注意是否放置在電源的輸入和輸出端。二氧化錳鉭電容器容易擊穿短路,抗浪涌能力差,啟動時很可能形成大的浪涌電流或電壓,導致鉭電容燒毀短路或過壓擊穿。在沒有嚴格評估的情況下,建議使用陶瓷電容器或電解電容器。
烜芯微專業制造二極管,三極管,MOS管,橋堆等20年,工廠直銷省20%,4000家電路電器生產企業選用,專業的工程師幫您穩定好每一批產品,如果您有遇到什么需要幫助解決的,可以點擊右邊的工程師,或者點擊銷售經理給您精準的報價以及產品介紹
烜芯微專業制造二極管,三極管,MOS管,橋堆等20年,工廠直銷省20%,4000家電路電器生產企業選用,專業的工程師幫您穩定好每一批產品,如果您有遇到什么需要幫助解決的,可以點擊右邊的工程師,或者點擊銷售經理給您精準的報價以及產品介紹